
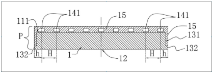
近日,深圳市聚飛光電股份有限公司“一種用于拼接的LED顯示模組的制作方法”獲得國家發明專利授權,授權公開號CN114360390B,標志著公司研發與科技創新能力再獲國家權威認可。
知識產權管理體系認證對于企業來說,就是貫徹《企業知識產權管理規范》國家標準。企業知識產權管理規范的國家標準由國家知識產權局制訂,經由國家質量監督檢驗檢疫總局、國家標準化管理委員會批準頒布,其核心主旨就是為建立企業知識產權工作的規范體系,認真貫徹落實《國家知識產權戰略綱要》,加強對企業知識產權工作的引導,指導和幫助企業進一步強化知識產權創造、運用、管理和保護,增強自主創新能力,實現對知識產權的科學管理和戰略運用,提高國際、國內市場競爭能力。本次通過《知識產權管理體系認證證書》,標志著聚飛光電在知識產權管理工作上進入了程序化、制度化、規范化和系統化,展現了公司在知識產權等多方面突出的綜合能力,企業知識產權管理水平再上新臺階。
聚飛光電在LED核心技術領域擁有深厚的技術積累和國內外專利的中長期布局,本次聚飛光電再獲國家發明專利授權,是對公司長期以來立足科技創新,不斷提升公司技術水平的充分認可,展現了公司在知識產權等多方面突出的綜合能力,將有利于公司發揮自主知識產權技術優勢,完善知識產權體系,增強公司核心競爭力,為公司進一步拓展國際市場奠定堅實基礎。
聚飛車規級 LED
聚飛光電專注車規級LED產品市場,擁有19年LED行業技術沉淀,12年車規級LED運營累計, 超3500KK車用LED在網運行,提供車用Mini產品綜合解決方案。車規級產品涵蓋車載顯示、車內背光、內飾、外部照明等各領域。聚飛自研車用Mini LED燈板率先通過車規級嚴苛驗證,率先在汽車行業實現了多個車規級Mini LED背光顯示和直顯COB項目的批量供貨,并且是唯一實現車外直顯Mini COB商業量產項目的國產品牌,致力于為廣大客戶帶來更安全的智能駕駛感受、更貼心的智能交互和更豐富的智慧生態,打造出全場景的智慧出行新體驗。

聚飛車用LED代表案例
公司客戶遍布歐美、韓國、日本、印度、土耳其等 10 多個國家,是韓國三星和 LG、土耳其 VESTEL、臺灣群創光電和友達光電、京東方、天馬、華星等面板商重要合作伙伴,目前已全面進入華為、OPPO、VIVO、小米、海信、TCL、中興、創維、松下、凱迪拉克、上汽、比亞迪等全球一流廠商供應鏈體系。公司合作上下游企業超1000家,擁有超1000車規級LED項目支撐,與上游供應商建立了戰略合作關系并不斷改進工藝方法、提升產品質量,為下游應用商提供性能可靠的定制化產品并聯合研發新品。
創新是引領發展的第一動力,未來,聚飛光電致力于將知識產權體系貫穿于全鏈路LED產品研發,探索專利創造新模式,推動企業智能化轉型升級,為公司高質量發展打下堅實基礎!